Ćwiczenia

OGÓLNOPOLSKI TURNIEJ HUSARSKI SKŁADA SIĘ z konkurencji władania orężem husarskim.

W niej husarze wykonywać będą ćwiczenia w zażywaniu oręża (na prawą rękę):

    1. Szabla
    2. Pałasz lub koncerz
    3. Kopia

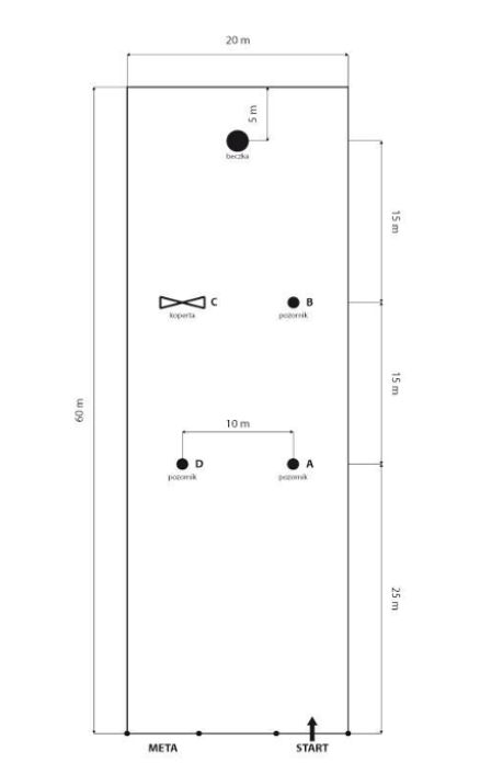
1. GONITWA Z SZABLĄ  

➢ przeszkoda A – cięcie łozy 

➢ przeszkoda B – cięcie jabłka 

➢ przeszkoda trzecia „beczka” – okrążenie w galopie  

➢ przeszkoda C – skok przez przeszkodę o wysokości 60 cm 

➢ przeszkoda D – cięcie jabłka  

 

Nie określamy rodzaju cięć, stawiamy na skuteczność. Cięcie będzie zaliczone wtedy, gdy pierwszy punkt styku będzie uderzany w przedmiot celu, w jabłko; łoza, gdy zostanie ścięta. Brak zaliczenia – 6 pkt karnych.

 

2. GONITWA Z KONCERZEM 

➢ przeszkoda A – koncerzem podniesienie z ziemi szmatki lub chochoła ze słomy (25 cm x 25 cm)  

➢ przeszkoda B – zebranie pierścienia z pozornika 

➢ przeszkoda trzecia „beczka” – okrążenie w galopie 

➢ przeszkoda C – skok przez przeszkodę o wysokości 60 cm 

➢ przeszkoda D – zebranie pierścienia

 – podniesienie chochoła, szmatki 0 pkt 

– niepodniesienie szmatki lub chochoła 10 pkt karne 

– brak zebrania pierścienia 4 pkt karne

 

3.GONITWA Z PAŁASZEM 

➢ przeszkoda A – cięcie kapusty umieszczonej na pozorniku 

➢ przeszkoda B – pchnięcie pałaszem w pozornik składający się z 3 klocków ustawionych na podstawie, największy na dole, średni i mały, przy czym każdy kolejny jest 4 razy mniejszy niż poprzedni (liczy się tylko zdjęcie sztychem).  

➢ przeszkoda trzecia „beczka” – okrążenie w galopie 

➢ przeszkoda D – skok przez przeszkodę o wys. 60 cm 

➢ przeszkoda D – cięcie kapusty na pozorniku. 

– brak ścięcie każdej kapusty 4 pkt karne 

– zdjęcie małego klocka 0 pkt. 

– zdjęcie średniego i małego (duży na miejscu) 6 pkt karne  

– zdjęcie wszystkich klocków (największego i dwóch pozostałych)  8 pkt karnych 

– nie strącenie żadnego klocka 10 pkt karnych.

 

4. GONITWA Z KOPIA DO PIERŚCIENIA – zawodnik rozpoczyna przejazd z linii startu z kopią w ręku;  

➢ przeszkoda A – zbieranie z pozornika pierścienia o średnicy 10 cm, znajdującego się z prawej strony jeźdźca 

➢ przeszkoda B – zebranie pierścienia o średnicy 10 cm    

➢ przeszkoda trzecia „beczka” – okrążenie w galopie 

➢ przeszkoda C – skok przez przeszkodę o wys. 60 cm  

➢ przeszkoda D – zebranie pierścienia o średnicy 10 cm   

– niezebranie pierścienia 6 pkt. 

– wszystkie pierścienie są równej średnicy.  

 

Schemat placu turniejowych:  

Zadanie „Konfederacja Organizacji Husarskich” sfinansowano ze środków Narodowego Instytutu Wolności – Centrum Rozwoju Społeczeństwa Obywatelskiego w ramach Rządowego Programu FUNDUSZ INICJATYW OBYWATELSKICH NA LATA 2021-2030 NOWEFIO – EDYCJA 2022 – PRIORYTETY 2-4
Całkowita wartość zadania: 300 000,00 zł
Finansowane z dotacji: 300 000,00 zł
Projekt służy zainicjowaniu i zawiązaniu współpracy środowiska związanego z kultywowaniem tradycji husarii na wielu obszarach od działań organizacyjnych,
przekazujących wiedzę, dotyczących tworzenia wydarzeń kulturalno-historycznych po unifikację współpracy organizacji, grup czynnie odtwarzających husarię. Konfederacja
Organizacji Husarskich ma być formą wzmocnienia organizacji obywatelskich o różnym statusie prawny o tym profilu działalności rekonstrukcyjnej.

Zapisz się do newslettera